Figure 4 trap question

Joined
Feb 8, 2005
Messages
1,135
For you experienced trap makers -
Does it matter if the horizontal trigger stick is positioned nearer to the top or closer to the bottom of the vertical stick?

Thanks for the help.

sp
 
I tend to keep it a lil closer to the bottom. I feel it is a bit more secure like that.
 
If no one comes through with instructions, I could make you a small one and mail it to you. This way you can have a working model to go by.
 
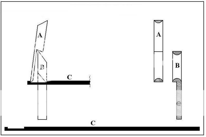
Try this. It's a quickee drawing so I hope it makes sense.

originalhigherhorizontal-Fig4.jpg


Diagram is incorrect - see below.

Doc
 
Last edited:
Try this for an explanatory diagram. I don't know where I got it, but it pretty well sums it up.

Fig4.jpg


Or this one, disregard the horizontal stick position as discussed above.

Fig.jpg
 
Last edited:
Tony, thanks for the offer. Let's see what happens as the thread goes on. I want to learn how to cut the notches and everything, so I may ask for a model if your offer stands.

ON EDIT: I was typing while you posted the second diagram, Doc. That helps alot!
 
Then, of course, there's always the modified Fig. 4, at least that's the only name I've ever heard it called.

modified4.jpg
 
Hey Stretch, if you're interested in traps, I strongly recommend Ron Hood's DVD Volume 5. You can't beat it for the money and in it, is the most straight forward explanation of how to build a Fig. 4 trap that I've seen, and a lot of other stuff.

Doc (No, I'm not related :D)
 
Ron's video is pretty good, I just sent it back (HuntFlix rental). Overall with his videos, I'd like a little less Ron, and more demonstration and teaching. I watch his video on shelters and other stuff last night, Volume 2 I believe, and I was really expecting more shelter types.

BUT, it was helpful for me to see him carve out the figure four. And it had a lot of different types of traps.
 
Thanks All!
Doc - really appreciate the diagrams, I just hate that your Mouse had to be sacrificed for the demo :D
 
OK, I think I have it.

UPLOADTHISFIG4.jpg


Of course, you could always lengthen b-c to offset the increase in pressure and stress, but that would make it harder for the support stick a-c to stay in place in the notch in the horizontal stick.

Whew!! If anybody sees a problem with this explanation, please speak up.

Doc
 
I like it lower because it allows me to increase the lever arm without having it stick out further from the support arm. The longer the lever arm, the further the end is from the fulcrum, the more weight it can support. You can increase the lever arm by using a longer trigger arm, but then the joint of your 4 sticks out a good ways.
 
Above all, have fun with it. I have gotten downright frustrated at that trap trigger. Don't be afraid to let it go for about an hour and come back.
 
I am building a figure 4 trigger. I beleive I have made all the cuts properly, however, the horizontal stick does not seem to want to stay in place. The trap seems very unstable and sometimes falls down on its own. Can anyone tell me if this is natural? Would a heavier weight help set the trigger a little better?

THX
Jay
 
Can't be sure of exactly what your problem is but I know the first time I did it I had the notches a little cattywampus which could be your problem. Once I lined everything up better it was fine. The trap should be sensitive but secure when setup.
 
Back
Top